Производство трубчатых электронагревателей
Доставка по России и СНГ
Мы работаем только с Юр. лицами или ИП.
Мы знаем про ТЭНы всё
Отдел сбыта в Москве
Самовывоз: склад в Сергиевом Посаде и Москве
Завод
в Сергиевом Посаде
Открыты для обсуждения любых вопросов
Нажимая кнопку "Сделать заказ", подтверждаете свое согласие
с положениями Политики конфиденциальности
Или оставьте ваши контакты и мы свяжемся с Вами!
Заявку можете отправить на электронную почту
+7 (495) 739-33-05
или
+7 (495) 721-84-23
Связаться с нами можно по телефону
Мы работаем только с Юр. лицами или ИП.
Нагреватели Плоские
Электронагреватели сопротивления косвенные плоские (СКП) применяются для нагрева пресс-форм, литейных форм, экструдеров, трубопроводов, клеевых машин и используются в качестве комплектующих изделий в промышленных установках и бытовых нагревательных приборах отечественного и импортного производства.
Конструкция плоского электронагревателя представляет собой корпус из листового металла толщиной 0,25 – 0,5 мм изготовленный из углеродистой или нержавеющей стали, внутри которого расположен нагревательный элемент из материала, обладающего высоким электрическим сопротивлением (нихромовая проволока, лента). Витки нагревательного элемента изолированы друг от друга и от корпуса при помощи изоляционного материала (слюдопласт, керамика).
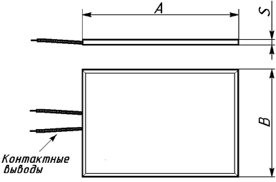
А – длина
B – ширина
S - толщина
рис.1
Пример условного обозначения плоских электронагревателей

При заказе необходимо представить эскиз или чертеж со всеми геометрическими и посадочными размерами и с указанием индивидуальных особенностей (крепежные элементы, прижимная пластина, отверстия, пазы, наличие заземляющего провода и т.д.)
Контактные выводы могут быть выполнены следующим образом:
провода в термостойкой изоляции;
резьбовые стержни;
разъем (под розетку шнура для чайника или иную требующуюся).

размеры длины – от 2 до 400 см размеры длины – от 2 до 400 см• размеры ширины – от 1 до 100 см
размеры толщины:
- при слюдопластовой изоляции от 3 до 5 мм
- при керамической изоляции от 10 до 15 мм
корпус СКП выполняется не герметичным.
в корпусе СКП могут быть выполнены отверстия, пазы, другие конструктивные элементы.
максимально допустимая удельная поверхностная нагрузка – 5 Вт/см2 ( расчет ведется только по поверхности, контактирующей с нагреваемой средой)
максимальная температура нагреваемой среды – 300оС
При эксплуатации плоских электронагревателей необходимо следить за соблюдением плотного контакта СКП с нагреваемой поверхностью!
Оставьте заявку на плоские нагреватели и мы перезвоним Вам в течение 5 минут
Нажимая кнопку "Сделать заказ", подтверждаете свое согласие с положениями Политики конфиденциальности
Возможности изготовления
Из приведенных выше вариантов наиболее предпочтительным является Вариант 3
При исполнении контактных выводов в виде шпилек с резьбой обеспечивается не только хороший контакт с токоподводящим проводом, но и наиболее надежное соединение нихромовой ленты внутри нагревателя со шпилькой. Электроизоляцию шпилек от металлического корпуса СКП выполняют снаружи фарфоровые изоляторы, изнутри или керамические втулки, или набор слюдяных шайб.
При изготовлении контактных выводов по вариантам 1 и 2 применяется термопровод со стойкостью изоляции до 200 оС. Сечение провода подбирается исходя из электротехнических параметров электронагревателя.
Плоские нагреватели, изготовленные с контактными выводами по Варианту 4, подсоединяются к питающему напряжению при помощи имеющегося разъема, который обеспечивает плотный контакт со стандартной розеткой шнура для отечественного электрочайника.
При заказе плоских электронагревателей (СКП) с контактными выводами по вариантам 1 и 2 требуется указывать длину термостойких проводов.
При заказе СКП с контактными выводами по варианту 3 требуется указать размер резьбы шпильки (как правило – М5).
При заказе плоских нагревателей с контактными выводами по Варианту 4, разъем может быть укомплектован стандартной розеткой либо шнуром для отечественного электрочайника. В обычную комплектацию розетка либо шнур не входят.
Для того, чтобы оперативно разместить заказ на изготовление плоских электронагревателей, достаточно прислать эскиз на требующиеся Вам изделия с указанием геометрических и электротехнических параметров.
На каждую партию плоских электронагревателей мы предоставляем паспорт изделия и инструкцию по эксплуатациии монтажу СКП.
Электронагреватели плоские (СКП) могут быть изготовлены по четырем вариантам исполнения электрических контактных выводов

ТЭНы
Двухконцевые
Патронного типа
С оребрением
Блоки ТЭН
Нагреватели
Плоские
Хомутовые
Полухомутовые
Вариант 1
Вариант 2
Вариант 3
Вариант 4